Home » Support » Support Tools/FAQ » Patents

Patents


High-pressure Miniature Needle Valve with Pressure-enhanced Seal

High-pressure Miniature Needle Valve with Pressure-enhanced Seal

A miniature needle valve having an improved internal body-to-bonnet metal-to-metal seal. The body seal incorporates a novel dovetail feature that
improves the metal-to-metal contact forces as pressures increase. The space requirements of the seal are minimized in order to fit within a miniature valve body.
The valve body can use dual outlet passageways to further minimize space requirements and improve the valve's flow characteristics. The body-to-bonnet
seal improvements increase the pressure limits of the valve beyond similar-sized miniature needle valves of the prior art... Read more

Inventor: Michael F. Lancaster
Original Assignee: Noshok, Inc.
Primary Examiner: John K Fristoe, Jr.
Secondary Examiner: Marina Tietjen
Attorney: Ulmer & Berne LLP
Current U.S. Classification: 251/122; 251/214; 251/903

 


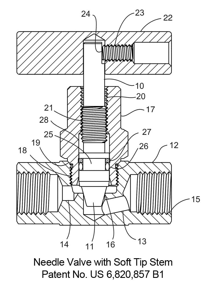
Needle Valve with Soft Tip StemNeedle Valve with Soft Tip Stem

A needle valve having a soft tip adapted for sealing an annular valve seat of a body port. The soft tip may be defined as two dissimilar circular rod sections of ductile plastic with the larger diameter having a conical taper. The soft tip is
pressed into a mating hole in the metal portion of stem up to its annular seat. A thin metal tubular section of the metal stem is cold formed over the soft tip to retain it in place. The metal retainer secures the soft tip in the axial direction and
limits the radial expansion of the soft tip while it is cold formed over the annular valve seat of the body port. The metal retainer also limits the axial movement of the stem to its maximum operating position. Under high axial forces, the soft
tip does not rotate relative to the valve seat. A resilient high-pressure seal is achieved with this arrangement...Read more

Inventor: Michael F. Lancaster
Original Assignee: Noshok, Inc.
Primary Examiner: John Bastianelli
Current U.S. Classification: 251/85; 251/122; 251/334; 251/358
International Classification: F16K/2500

↑Top of Page

PT Transmitter Crossover Tool

Convert to PT Series